Dify + RustFS + Milvus,构建文档多语种翻译 AI Workflow
文章目录
本文利用 Dify + RustFS + Milvus 搭建一个文档的多语言翻译 workflow,实现将将中文文档同时翻译为英语、日语、俄语、韩语(如果想要,可以随意加)。有了 AI,文档的撰写和多语种翻译从未想过今天这样高效。
关于 Dify
Dify 是一款开源的大语言模型(LLM)应用开发平台。它融合了后端即服务(Backend as Service)和 LLMOps 的理念,使开发者可以快速搭建生产级的生成式 AI 应用。即使你是非技术人员,也能参与到 AI 应用的定义和数据运营过程中。目前 Dify 在 GitHub 上的 Star 已经超过 116k。
关于 RustFS 和 Milvus
关于 RustFS 和 Milvus 可以查阅过往的博客文章:
安装 Dify
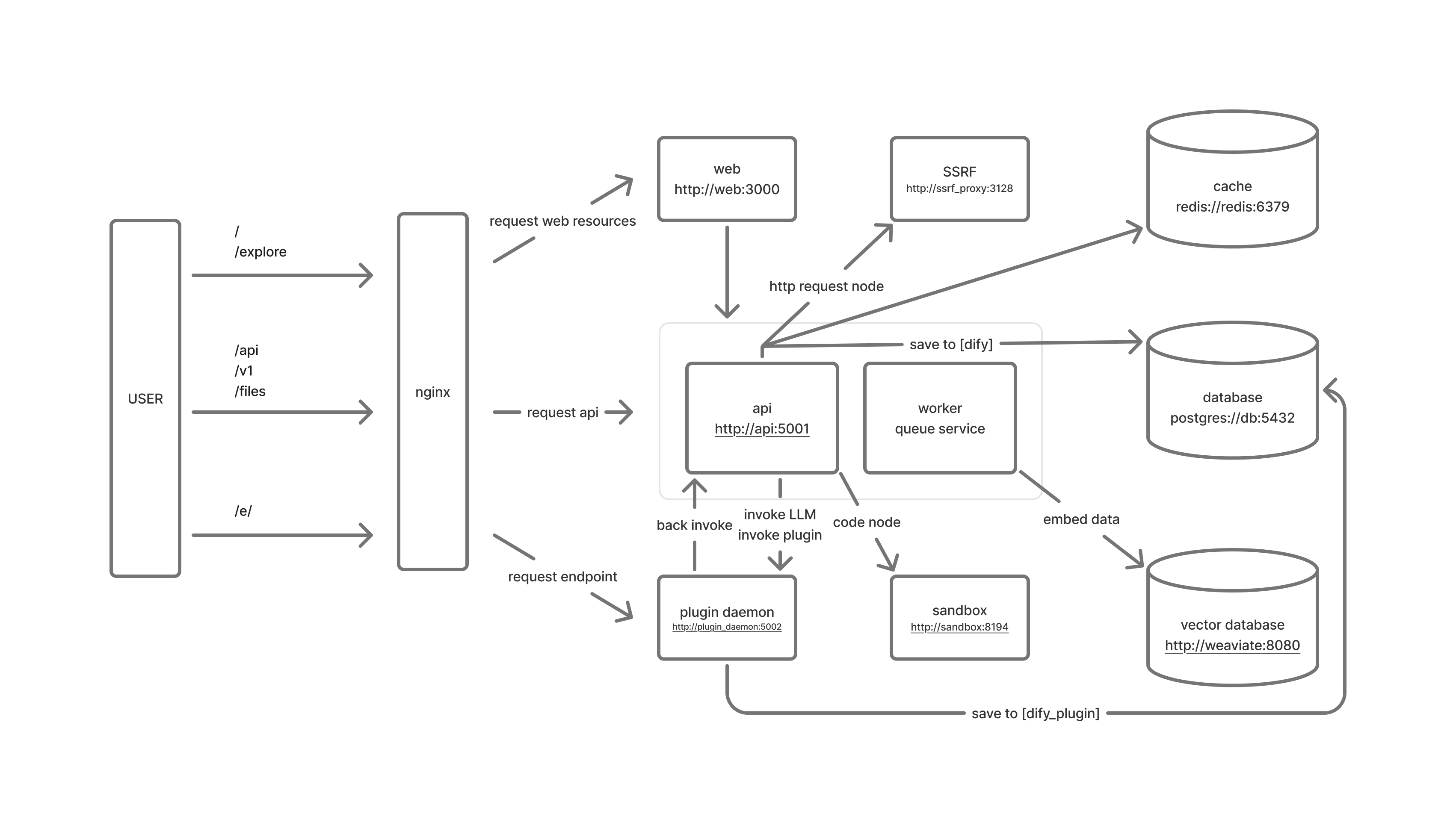
Dify 官方提供了 docker-compose.yaml来通过 Docker Compose 的方式私有化部署一个 Dify 实例。官方也提供了这种安装模式下各组件的架构示意图:

由架构图中看到,Dify 会将向量数据存储向量数据库,而且官方支持多款向量数据库,诸如 weaviate、qdrant、opensearch、miluvs 等。需要通过 VECTOR_STORE 来指定使用的向量数据库。本次实践使用 milvus,需要对 docker-compose.yaml 文件做一些变更。
Milvus 配置修改
修改的配置如下:
- *指定使用 milvus 向量数据库
| |
- *镜像更换
,将当前官方默认的 2.5.15 替换为 2.6.0 或 2.6.2
| |
使用默认的
2.5.15镜像出现了 IndexNode 19530 端口被占用的问题,更换镜像后问题消失。
- 修改 milvus 地址
| |
Minio 配置修改
在上一篇文章Milvus + RustFS + Vibe Coding,快速 DIY 一个 Chatbot中写到了,milvus 支持将 minio 配置为对象存储后端,由于 RustFS 作为 minio 的完全平替,因此可以将 RustFS 配置为 milvus 的对象存储后端,在 docker-compose.yaml 文件中添加如下内容:
| |
注释掉与 minio 相关的内容:
| |
更新以下环境变量信息:
| |
同时需要告诉 Dify 使用 S3 存储而不是本地存储:
| |
将 S3 相关的环境变量信息更改为 RustFS 实例的具体信息:
| |
需要修改的信息已经整理完毕,下面开始正式安装部署。
安装 Dify
将 Dify代码克隆到本地,按照前面步骤中的变更修改 docker-compose.yaml 文件,然后执行如下命令进行安装:
| |
查看安装结果:
| |
所有服务运行正常后,dify web 页面可通过 localhost/install 访问(如果是在云端服务器安装,可将 localhost 替换为服务器 IP)。
初始化登录需要设置邮箱地址和密码,设置完毕登录,可看到 Dify web 页面:

图中的 docs-trans 不是默认的,是我自己创建的 workflow。
接下来利用 Dify 构建一个 workflow:将 RustFS 与 milvus 集成的中文文档(一个 Markdown 文件)翻译成英语、日语、俄语以及韩语。
构建 Dify workflow
整体流程如下:

上传文件
Dify workflow 中支持对文件进行上传,而且支持多种文件格式,包括 TXT、PDF、MARKDOWN、DOCS 等。
在 Dify Start 节点的 SETTINGS --> INPUT FIELD 中选择文件类型,并选择文件上传方式:

本次实践使用 RustFS 和 Milvus 集成的文档,是一个 Markdown 文件,因此文件类型选择 Document;上传方式选择 Local Upload。
读取文件内容
由于 LLM 没法直接读取文件内容,所以 Dify 提供了 文档提取器来读取 Start 节点中上传的内容,然后将其喂给 LLM 进行翻译。
在 Start 节点后添加一个 DOC EXTRACTOR 节点,输入为 Start 节点上传的 Markdown 文件,输出为提取的文本内容(这时候会生成一个 text 变量,后续可引用),这些内容作为下一步,也就是 LLM 的输入,所以在 DOC EXTRACTOR 节点的 NEXT STEP 中都是 LLM。

用 LLM 翻译文档
Dify 的 LLM 节点可以调用大模型的能力来对上一个节点的输出内容进行操作。而且主流的大模型都支持,可以在 Web 页面 –> Plugins 中搜索可用的大模型,比如此次使用的 DeepSeek:

选择之后点击 Install 即可。
安装完毕后,要在模型提供商(Model Provider)中配置 API Key,后续才可在 Workflow 中调用:

然后添加 LLM 节点:

还需要做好以下配置:
在 MODEL 下拉菜单中选择想要使用(提前安装且配置了 API Key 的模型才会出现在该列表中),比如此次选择了
DeepSeek;设置好提示词,也就是告诉大模型要做什么事情;比如本次使用的提示词为:
1假设你是一位 RustFS 专家,将下面的内容翻译成英文/日语/俄语/韩语,同样按照 Markdown 格式输出,内容如下:切记,要在系统提示词中选择上 DOCS EXTRACTOR 节点的输出(是一个 text 变量,输入
/可直接选择)。
为每一个 DOC EXTRACTOR 都选择了一个 LLM,使用了类似的提示词(唯一的差别就是翻译的语种)。整体配置如下:

接下来将 LLM 的输出直接上传到 RustFS。
Dify 内置一个 API 服务,可以将上一步的文件作为输出进行预览和下载。这需要调整一下
docker-compose.yaml文件,为了方便,直接使用现成的 RustFS 实例作为文档的最终输出载体,而且还能体验一下 Dify 的工具功能。
将文档上传至 RustFS
Dify 工具节点可以选择不同的工具来对上一个节点的内容进行处理,目前官方支持的工具有三种:
- 内置工具:Dify 第一方提供的工具;
- 自定义工具:用户自己导入或配置的工具;
- 工作流:将编排好的工作流发布为工具来使用)。
本次实践使用 Dify 提供的内置工具 —— minio 来存储翻译之后的内容。
工具在使用之前需要先安装,在 Dify Web 首页的 Tools 中搜索可用的工具:

由于已经安装好了 minio,所以 minio 展现在了最上面,如果未安装,在下面的搜索结果中,点击蓝色的 install 按钮即可完成安装。
在节点添加中点击 Tool 来选择已经安装好的工具 —— minio:

由于是上传文件,所以选择 MINIO_WRITER,然后输入 RustFS 实例相关信息:

主要信息:
- MinIO Endpoint URL:RustFS 实例地址(比如是
localhost:9000); - MinIO Access Key:RustFS Access Key ID(比如默认的
rustfsadmin); - MinIO Secret Key:RustFS Secret Key ID(比如默认的
rustfsadmin); - Bucket Name:存储文件的存储桶名称,须提前在 RustFS 上创建。
- Object Name:文件上传到存储中之后的对象名称,自定义即可;
- Content:工具节点的输入,也就是 LLM 节点的输出,选择
text即可;
由于本次实践是将中文文档翻译为 4 种不同语言,所以添加了 4 个 MINIO_WRITER 节点:

结束
Dify 每个工作流的尾部都要加一个结束节点,正常添加即可。

运行 workflow
点击右上角的 Run 按钮即可开始 workflow 的运行,点击之后在出现的界面中上传需要翻译的中文文档(Markdown 格式),然后点击 Start Run:

可以在界面上清晰的看到 workflow 的进度:

流程全部执行完毕后,可以在所有节点的右上角上看到绿色的通过标志。

结果验证
本次是将上传的 Markdown 文档(文件名称为 milvus.md)翻译成英语、日语、俄语、韩语,然后分别上传到 RustFS 实例的四个存储桶中:en-translation、jp-translation、ru-translation、kr-translation,每个存储桶中对应有一个对象,分别是:en-milvus.md、jp-milvus.md、ru-milvus.md、kr-milvus.md:

存储桶中的存储对象:

可以直接选择某一个对象文件,点击啊 Preview 进行内容查看,比如查看韩语文档:

内容如下:

可以用类似的方法查看其他语言的文档内容,如果审核无误,可以直接下载,然后进行文档提交。
结束语
Dify 提供了一种灵活的方式让用户自行构建 AI 应用,整个过程可能就是拖拉拽 + 简单的编程,相比于全程使用 API 来将各种服务或者工具串联起来的纯编程模式,Dify 确实体验更好,不过要想熟练使用 Dify,也需要解决两个问题:
- 深度了解 Dify,包括架构和各个功能的使用,这个阅读文档 + 多动手实践就可以;
- 用户需要清楚的知道自己想要的 AI 应用或者 workflow 是怎样的,换言之,用户需要知道如何将 AI 能力引入到自己的实际需求中,这种情况下 Dify 才能发挥最大作用;
另外,minio 作为全球知名的对象存储系统,确实使用广泛,但是完全可以用 RustFS 来对 minio 进行平替。
Dify workflow 一旦上手,就会想 DIY 各种有趣工作流来优化自己的工作方式。后续还会继续探索 Dify 和其他应用的集成实践。感兴趣的可以关注这个号!
文章作者 马景贺(小马哥)
上次更新 2025-10-03